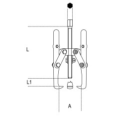
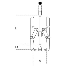
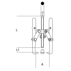
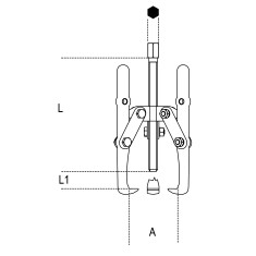
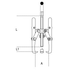
Estrattore a tre griffe 1518


Estrattori a tre griffe Beta 1518
• Per elevati carichi d’ estrazione.
• Effetto autoserrante.
• Le misure 4-5-6 offrono una duplice possibilità di regolazione in altezza delle griffe.

Filtra per
Produttori
Prezzo
Filtro
Prodotto aggiunto ai preferiti
Prodotto aggiunto al confronto