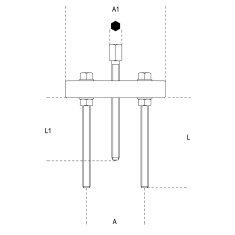
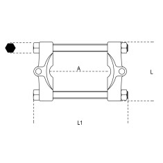
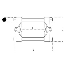
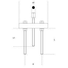
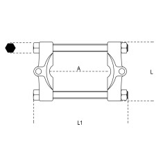
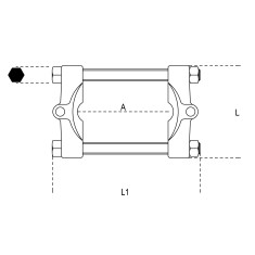
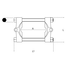
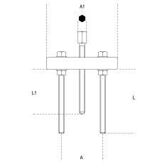
Tiranti e separatori


Tiranti per separatori e separatori Beta, separatori zincocromati, l’ampia superficie di contatto favorisce la rimozione di organi delicati come pulegge, cuscinetti e bronzine senza dannegiamenti.

Filtra per
Produttori
Prezzo
Filtro
Prodotto aggiunto ai preferiti
Prodotto aggiunto al confronto